olegiy Опубликовано: 1 апреля 2017 Опубликовано: 1 апреля 2017 Куплю за разумные деньги контроллер, датчик и шлейф их соединяющий. Задумал скрестить механику от подстульника BRD и электронику от Кабана. Сам механизм уже нарисовал в SolidWorks, осталось образмерить датчик с магнитом.
olegiy Опубликовано: 2 апреля 2017 Автор Опубликовано: 2 апреля 2017 Если будут положительные подвижки, обязательно дам знать.
Gargoyle Опубликовано: 2 апреля 2017 Опубликовано: 2 апреля 2017 Есть глубочайшие сомнения? Чем выражены?
olegiy Опубликовано: 2 апреля 2017 Автор Опубликовано: 2 апреля 2017 В "родной" механике магнит вращается практически вокруг своего центра. В нашем случае этого не добиться, т.к. ось вращения смещена. Сейчас я пока заложил 3-5 мм. И расстояние от датчика до магнита 5мм Французы датчики калибруют через спец. утилиту, добиваясь линейности. Мои опыты показали, что датчик очень чувствителен к направлению магнитного поля и есть надежда на успех. Небольшую нелинейность можно будет исправить через родной софт.
Gargoyle Опубликовано: 2 апреля 2017 Опубликовано: 2 апреля 2017 В "родной" механике магнит вращается практически вокруг своего центра. В нашем случае этого не добиться, т.к. ось вращения смещена. Сейчас я пока заложил 3-5 мм. И расстояние от датчика до магнита 5мм Честно говоря не шарю в этом, а если поменять размер магнита?
olegiy Опубликовано: 2 апреля 2017 Автор Опубликовано: 2 апреля 2017 Я уже предварительно нашел маленький, но мощный.
DraivPro Опубликовано: 2 апреля 2017 Опубликовано: 2 апреля 2017 а не проще оставить родную электронику от BRD пусть отвечает за ось Y и X, а электроника кабана будет отвечать за ручку, тем самым будут работать профайлы таргета, в игре только переназначить оси крена и тангажа. Я так делал когда скрещивал базу G940 и ручку x-55, сайтек отвечал только за ручку, 940 отвечал только за оси, и никаких проблем.
=FA=CATFISH Опубликовано: 2 апреля 2017 Опубликовано: 2 апреля 2017 Я уже предварительно нашел маленький, но мощный. Аксиально или диаметрально намагниченый?
olegiy Опубликовано: 2 апреля 2017 Автор Опубликовано: 2 апреля 2017 (изменено) а не проще оставить родную электронику от BRD пусть отвечает за ось Y и X, а электроника кабана будет отвечать за ручку, тем самым будут работать профайлы таргета, в игре только переназначить оси крена и тангажа. Я так делал когда скрещивал базу G940 и ручку x-55, сайтек отвечал только за ручку, 940 отвечал только за оси, и никаких проблем. А я так и сделал. Дело в том, что на старости лет загорелось освоить SolidWorks. Тряхнуть своим инженерным прошлым, так сказать... А чтобы процесс был продуктивней, мозгу была повешена "морковка" в виде задачи - адаптации механики BRD под электронику Кабана и до кучи реверсный инжиниринг Роминых педалей для личных нужд. Денег на педали не хватило, а очень хотелось. Аксиально или диаметрально намагниченый? Аксиальный. Изменено 2 апреля 2017 пользователем olegiy
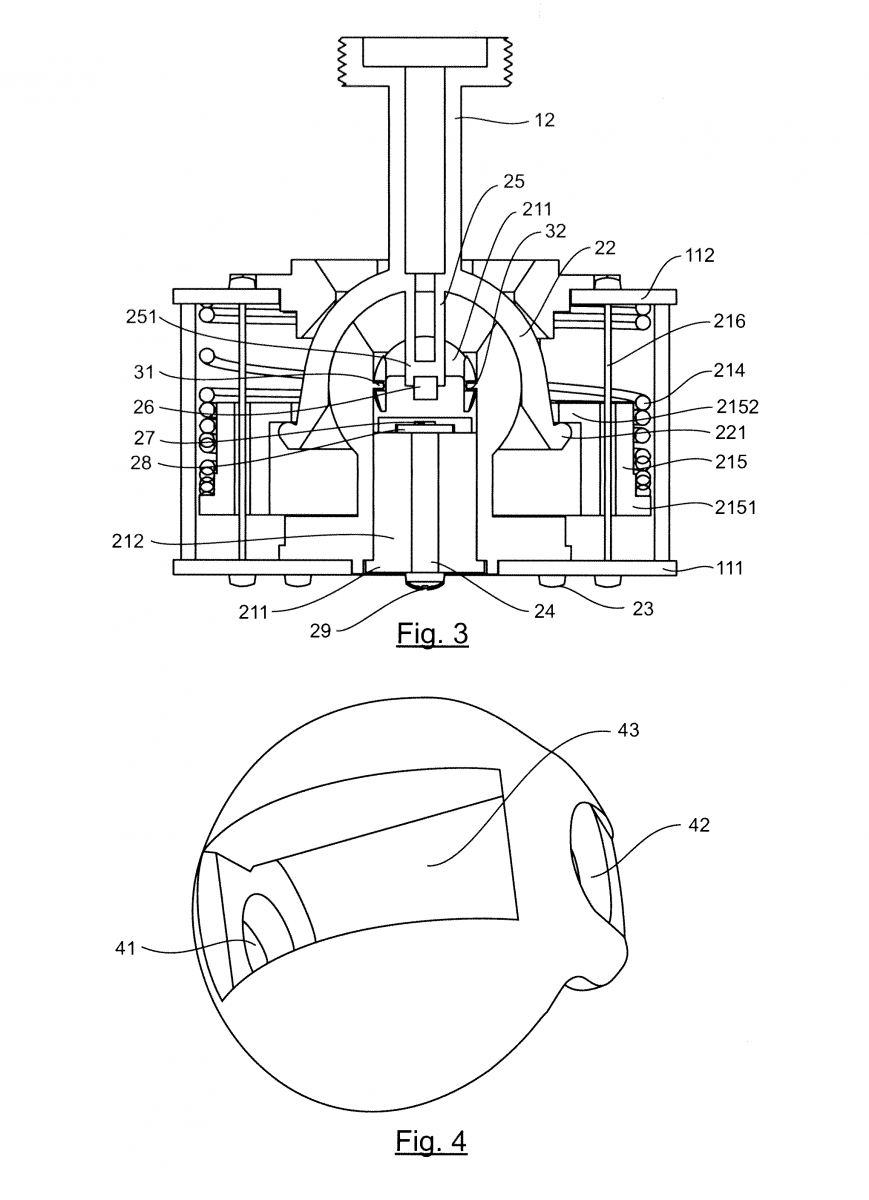
Gargoyle Опубликовано: 2 апреля 2017 Опубликовано: 2 апреля 2017 (изменено) В "родной" механике магнит вращается практически вокруг своего центра. Если посмотреть на это: то складывается впечатление, что слово "практически" тут вообще неуместно - он таки вращается вокруг) 31 - как понимаю это осъ 26 - источник того, что потрогать незя)... Изменено 2 апреля 2017 пользователем Gargoyle
olegiy Опубликовано: 2 апреля 2017 Автор Опубликовано: 2 апреля 2017 (изменено) Это эскиз из патента кажется, не чертеж. В реале магнит слегка отклоняется от центральной оси. Поэтому "практически". Если посмотреть на описание к микросхеме самого датчика, то ему без разницы как вращать магнит. Он реагирует на изменение магнитного поля относительно своего центра. Главная засада, с которой можно столкнуться, это возможная конечная нелинейность. Поглядим. P.s. Может кто в курсе в ручке Thrustmaster T.16000M аналогичный контроллер? Тогда круг поиска расширится. Изменено 2 апреля 2017 пользователем olegiy
Gargoyle Опубликовано: 2 апреля 2017 Опубликовано: 2 апреля 2017 Это эскиз из патента кажетсяКажется тут точно неуместно!)) Поэтому "практически". Принято...
=Xone_96=Allen_and_Heath Опубликовано: 24 апреля 2017 Опубликовано: 24 апреля 2017 Контроллер + датчик ещё нужен ?
olegiy Опубликовано: 29 апреля 2017 Автор Опубликовано: 29 апреля 2017 Упсс!!! Извиняюсь!!! Забыл уведомления включить, думал автоматом. Да нужен.
=Xone_96=Allen_and_Heath Опубликовано: 29 апреля 2017 Опубликовано: 29 апреля 2017 Есть основание от Кабана (ручку уже отдал). Териториально г. Дубна. Московской области. Подойдёт ?
olegiy Опубликовано: 29 апреля 2017 Автор Опубликовано: 29 апреля 2017 Конечно подойдет. Механику основания можно другим нуждающимся предложить, много людей ломают... Вопрос цены и как забрать. Я далеко от ваших мест. ((
=Xone_96=Allen_and_Heath Опубликовано: 29 апреля 2017 Опубликовано: 29 апреля 2017 )))) Цена = стоимость пересыла (СДЭК) )))
olegiy Опубликовано: 29 апреля 2017 Автор Опубликовано: 29 апреля 2017 Реквизиты в личку или на почту olegiyy@gmail.com Спасибо!
Рекомендованные сообщения
Создайте аккаунт или войдите в него для комментирования
Вы должны быть пользователем, чтобы оставить комментарий
Создать аккаунт
Зарегистрируйтесь для получения аккаунта. Это просто!
Зарегистрировать аккаунтВойти
Уже зарегистрированы? Войдите здесь.
Войти сейчас